鋰電池視覺檢測解決方案:

鋰電產業進入升級周期,生產訴求愈加精細化、專業化。從前段的極片制造到中段的裸電芯焊接,再到電芯組裝覆膜,都需要更高效、更精準的視覺檢測技術。

匯萃智能視覺應用已經覆蓋了鋰電池生產的全過程,通過深度融合2D、3D及深度學習等多維視覺技術,攻克了關鍵工序的行業檢測難點,如果您也有關于鋰電池的視覺檢測難題,歡迎您聯系我們。(微信:cpu520)

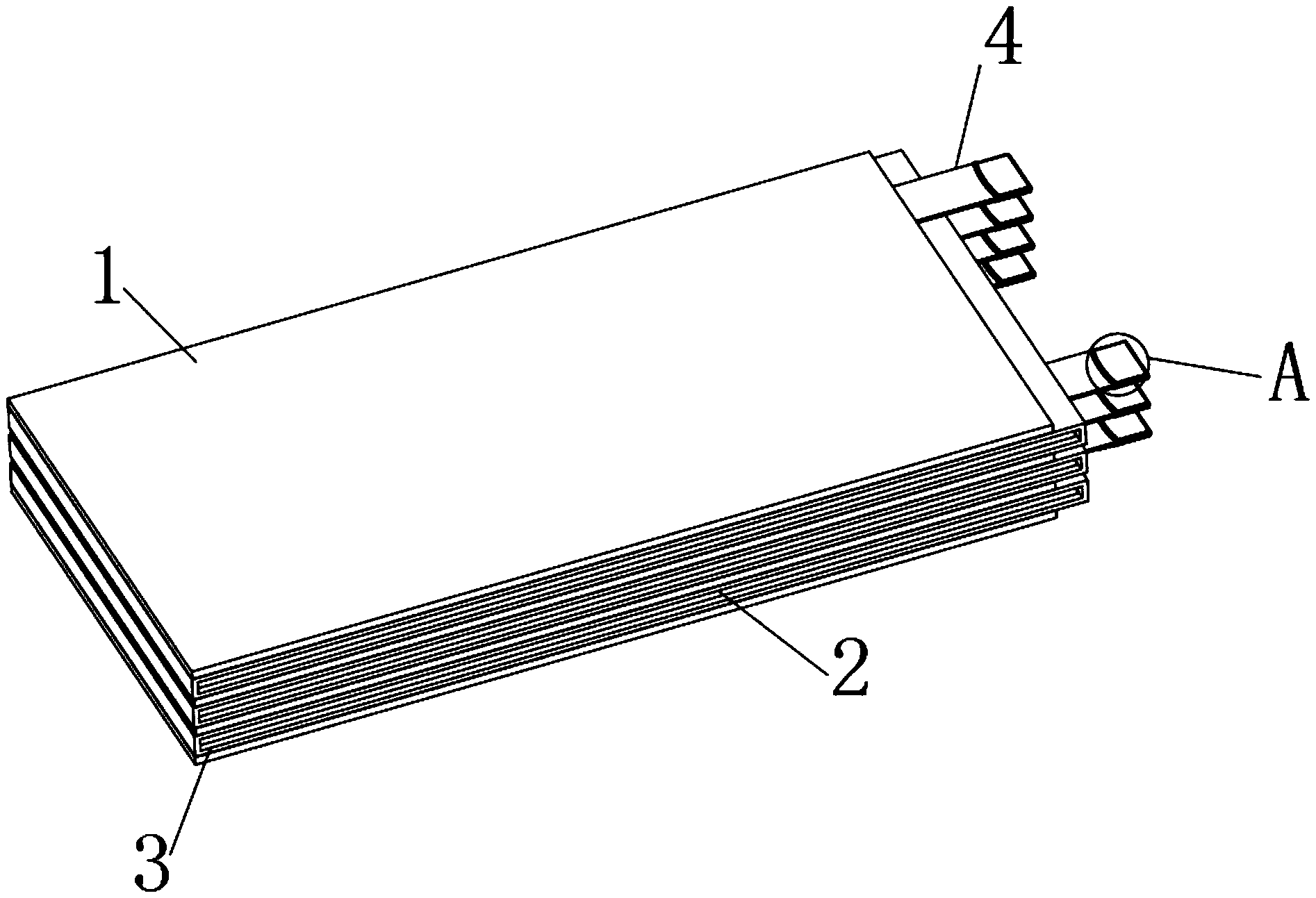
案例展示:
1、電芯涂布定位
涂布過程位置度控制,檢測涂布極片原料到載體邊緣的距離。

2、極片缺陷檢測
檢測極片表面毛刺等缺陷,測量極片寬度

3、電芯自動上料讀碼
電芯上料前批量讀碼,將對應電芯坐標發給設備

4、膠型檢測
檢測膠水的連續性、寬度和有效長度

5、轉接片焊印質量檢測
檢測轉接片焊后毛刺、爆點檢測、焊縫間距、焊縫寬度、縫凸起,凹坑缺陷等;
檢測轉接片焊偏位、斷焊等;

6、PACK模組Busbar焊前及焊后檢測
焊前檢測:連接片與極柱之間的間隙;
焊后檢測:爆點、凹坑、凸起、焊穿、焊縫的裂縫 / 裂口、焊縫尺寸偏差度等

7、側縫焊前尋址
側縫焊接(翻邊焊)前的焊縫尋址,引導機器人激光焊接
8、側縫焊尺寸測量及外觀檢測
側焊縫尺寸檢測:焊縫長寬;焊縫位置度;
距離定位點位置:焊縫凸起高度;
側焊縫外觀檢測:爆點、凹坑;飛濺、下榻
9、電池模組定位抓取
視覺引導機械手定位抓取電池模組
10、電池模組底面平整度及端板全共面度全尺寸檢測
檢測電芯底面整體平面度以及四個固定角支撐端板共面度
11、電池頂蓋尺寸檢測
2D尺寸檢測;
3D頂蓋平面度檢測,產品斷差檢測;
極柱焊接質量檢測;
12、銅箔鋁箔檢測
檢測銅箔鋁箔是否用盡,計算線速度,選擇最優換料時間,降低材料損耗
返回頂部
半導體硅片作為芯片制造的核心基材,其表面和內部缺陷直接影響芯片良率與性能。傳統人工檢測受限于精度(僅能識別微米級缺陷)和效率(單次檢測需數十分鐘),已無法滿足先進制程(如 3nm 以下工藝)對硅片質量的嚴苛要求。機器視覺檢測技術憑借亞微米級精度(可達 0.1μm)、全表面 100% 覆蓋檢測和分鐘級快速成像分析能力,成為半導體產業鏈中關鍵的質量管控手段。
匯萃智能的熱成像鋁箔封口檢測機作為一種先進的視覺檢測設備,通過紅外熱成像技術,能夠高效準確地檢測鋁箔封口的質量,從而確保產品的包裝質量。
在現代化的生產線上,產品的標識至關重要。無論是生產日期、批次號還是產品代碼,都需要清晰、準確地展示出來。例如,在藥品和食品制造行業中,其包裝上的生產日期是確保藥品和食品安全性和合規性的關鍵信息之一。這就離不開噴碼技術和機器視覺檢測技術的緊密結合。本文將為您詳細介紹幾種常見的噴碼技術及其如何通過機器視覺檢測來確保標識質量,并結合實際應用場景進行說明。
食品包裝是食品商品的組成部分,它用于保護食品在離開工廠流通到市場上的質量,是至關重要的一部分。為解決高速高效下的食品和包裝質量,通過視覺圖像采集并處理的方式檢測不良品,保證食品安全。